寸法記入の補助線を簡単に描く機能(Hyper-Paint チュートリアル 使い方 講座)
Hyper-Paintには多くの機能がありますが寸法記入の補助線を簡単に描く機能もその一つです。これも独自な機能で他のソフトには無い機能です。
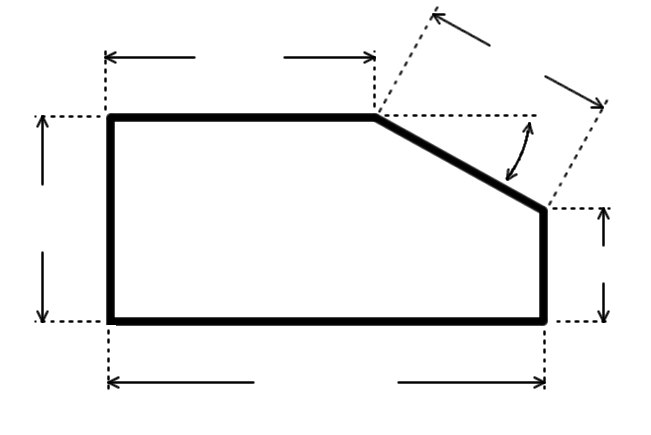
下図のような図にサイズを入れる場合どの位置のサイズかなどを示す補助線が必要ですがそれを簡単に描くための機能です。
下図の家の絵の横サイズを示すためには

描画モードを矩形にして下図のように適当な位置に矩形を作画します。

あとは右クリックで表示された描画メニュから「寸法記入の補助線」をクリックすると
下図のようなダイアログが表示されますので今回は左の図形上部に寸法線が描かれるボタンを押します。

下図のように家の上側に寸法線が描かれ同時に補助線も描かれます。。

あとは文字機能を使ってサイズを入力します。

下図はほんの一例です。

補助線は作画のやり方つまりくっつけて作画するか?少し離して作画するかによって其のとおり描画され下図のようになります。
また作画時に線種を例えば破線に指定すると下図のようになります。
